Sehingga rumusnya adalah t m x g. Contoh soal penerapan hukum newton pada gerak lurus di permukaan bidang datar kasar ada gaya gesek 1.
Bab Dinamika Gerak A Gaya Memengaruhi Gerak Benda B
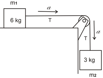
Contoh soal tegangan tali pada bidang datar. Sekian tadi ulasan tentang sistem katrol pada bidang datar meliputi sistem katrol pada bidang datar licin dan kasar. Dua benda a dan b masing masing bermassa 2 kg dan 3 kg diikat pada seutas tali dan ditautkan pada katrol seperti gambar. Contoh soal gaya tegangan tali. Bila benda maupun tali dalam posisi diam maka tegangan adalah sama dengan gaya gravitasi t fg. Benda bermassa 4 kg diletakkan di atas sebuah meja yang permukaannya licin kemudian dihubungkan dengan benda bermassa 6 kg yang digantung pada seutas tali melalui sebuah katrol yang terletak di pinggir meja. Balok m2 dihubungkan dengan balok m3 yang sudah tergantung pada sebuah katrol.
Massa balok 1 adalah 2 kg massa balok 2 adalah 3 kg percepatan gravitasi adalah 10 ms 2tentukan a besar dan arah percepatan sistem b besar gaya tegangan tali. Pada sebuah balok ada m1 dan m2 yang terhubung pada suatu bidang yang memiliki permukaan datar. Rumus cepat menghitung percepatan dan tegangan tali untuk sistem seperti contoh soal 2 dapat kalian temukan dalam artikel tentang. Gaya tegangan benda 5 kg adalah. Contoh soal penerapan hukum newton pada sistem beban tali dan katrol. Untuk menentukan besar gaya tegangan tali antara balok 1 dan balok 2 masukkan nilai percepatan ke persamaan 1.
Seperti rumus percepatan sistem katrol pada bidang datar berikut bidang datar kasar dan massa katrol diabaikan. Massa balok 1 adalah 2 kg massa balok 2 adalah 4 kg percepatan gravitasi adalah 10 ms 2 gaya dorong f adalah 40 newtonkoefisien gesek kinetis antara balok 1 dengan permukaan lantai kasar adalah 02 dan koefisien gesek kinetis antara balok 2 dengan permukaan lantai kasar adalah 03. Berapa nilai dari t1 yang merupakan penghubung dari m1 m2. 1 tegangan digantung dengan satu tali. Balok a bergerak ke kanan dan balok b bergerak ke bawah dengan percepatan 16 ms 2. Jika m1 m2 20 kg abaikanlah massa dari katrol dan g 86 ms2.
5 x 98 ms2 adalah 49 newton. Jadi besar percepatan ketiga balok pada kondisi bidang datar licin adalah 5 ms 2. Hukum newton pada gerak 2 benda yang dihubungkan tali di bidang datar. Sedangkan untuk menentukan gaya tegangan tali antara balok 2 dan balok 3 masukkan nilai percepatan ke persamaan 2. Untuk benda yang diikat pada seutas tali gaya tegangan berasal dari reaksi dari dua ujung tali.
















